Product image for Steel Electric Products Co. 133S 3/4 Inch Zinc Plated Steel 1-Hole Conduit Strap
Image thumbnail 0
Image thumbnail 1
Image thumbnail 2

Email

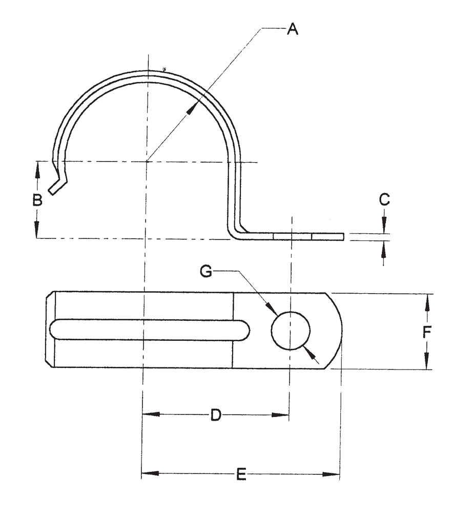
Steel Electric Products Co. 133S 3/4 Inch Zinc Plated Steel 1-Hole Conduit Strap

Manufacturer: Steel Electric Products | Catalog # 133S | Cooper Electric Part # 89936

$74.48/c (100 ea)
ea
Log in or register to view your price, purchase history, and more!
0

Not Available for Pickup at Ocean Closes 5:00pm ET
200 available

For Delivery

Order by 5:00pm ET for delivery Monday
Not in local stock *
Check another branch
Steel Electric Products Co. 133S 3/4 Inch Zinc Plated Steel 1-Hole Conduit Strap

Technical Information

Trade Size
3/4 Inch

Manufacturer Information

Brand
Steel Electric Products

General Product Info

12-Digit UPC
785994813378
Product UPC
78599481337
Application
  • Click-on type one-hole straps for rigid conduit or IMC. Provides support for the conduits, as required by the National Electrical Code.
Standard Materials
  • Steel
Standard Finish
  • Zinc Plated
UL Listed
  • E198338



Compare