Product image for Color-Keyed 54866BEUB 1/2 Inch Bolt 4 AWG 90 Degree Copper Long Barrel
Image thumbnail 0
Image thumbnail 1

Email

Color-Keyed 54866BEUB 1/2 Inch Bolt 4 AWG 90 Degree Copper Long Barrel

Manufacturer: ABB | Thomas & Betts | Catalog # 54866BEUB | Cooper Electric Part # 1682018

$2,643.19/c (100 ea)
ea
Log in or register to view your price, purchase history, and more!
Out of stock, please contact your sales representative for availability, pricing and lead times
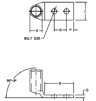
Copper Two-Hole Lug, 90 Degree Bend Long Barrel, Blind End, Max 35kV, Wire Size 4/0 AWG, 1/2 Inch Bolt Size, 1-3/4 Inch Hole Spacing, Tin Plated, Die Code 54, Die Color Code Purple

Technical Information

Barrel Length
Long
Barrel Shape
Standard
Barrel Type
Long, 90 Bend
Cable Size
4/0 AWG
Conductor Size
4/0 AWG
Material
Copper
Number of Holes
2 Hole
Number of Studs
2
Standard
UL E9809
Stud Size
0.5 in
Tongue Angle
90
Tongue Width
Standard
Type
Long Barrel 90 Degree Bend
Voltage
600 Volt
Wire Size
0000 AWG

Manufacturer Information

Brand
ABB
Sub Brand
Color-Keyed®

General Product Info

12-Digit UPC
786210697901
Color
Purple
Finish
Tin Plated
GTiN
00786210697901
Product UPC
78621069790
Shape
Round
Notes
  • Dimensions given for reference only. Dimensions may vary up to .030.



Compare